Briefly: It was all the way back in 2013 when Sony announced an expanded Spider-Man universe, which was set to include Venom and Sinister Six spinoff films.

Well, The Amazing Spider-Man 2 sucked, Sony shuttered the expanded universe (along with The Amazing Spider-Man franchise), and fans everywhere were also pretty convinced that this (or a) Venom film wouldn’t see the light of day.

Until just now, that is, as THR has just revealed that a Sony has just hired Dante Harper to write the script.

Harper did some rewrites on the fantastic Edge of Tomorrow, and also co-wrote the Jamie Foxx/Dermot Mulroney flick Sleepless Nights. 

It’ll certainly be interesting to see where this one goes, and just how it’ll tie in with the upcoming Marvel-produced Tom Holland Spider-Man reboot. Could we one day see our MCU heroes face off against the symbiote?

In any case, there are a ton of incredible Venom storylines for Harper to draw from. Which ones would you like to see on screen? Who would you like to see play Eddie Brock? Sound out below!

Topher

Join Juan and Shane as they discuss the last week in video games!

Subscribe to us in iTunes!

Subscribe with another program!

This Week:

Geekscape 400!

www.mabtw.com.

Uncharted 4 gets delayed, AGAIN!

Sony announces the Playstation glove.

Microsoft HoloLens dev kit announced at $3,000!

HoloLens tech demo, Young Conker, is terrifying.

Pokemon Sun & Moon EU trademarking leaks.

Pokemon Sun & Moon announced by Nintendo.

Celebi Free for Pokemon Omega Red and Alpha Sapphire users all of March.

Star Fox Zero delayed?

Nintendo NX may get launched this year.

Nintendo Direct on 3/3.

Fire Emblem: Fates.

Legend of Zelda: Twilight Princess HD.

Destiny.

Sega Saturn collecting.

Mission Objective:

Seems many voters aren’t satisfied with any of the candidates running for the Presidential nomination. Which videogame character(s) do you believe would be a great candidate to run for the presidency of the United States?

Subscribe to us in iTunes!

Follow us on Sound Cloud!

Subscribe with another program!

Subscribe to our Twitch Channel!

Follow us on Twitter!

@dkraneveldt

@InuJoshua

@TheKingOfMars

@shaneohare

Briefly: Not again…

Based on last week’s gorgeous new trailer, Uncharted 4: A Thief’s End is coming together very nicely.

It’s just too bad that… yep, again, we’ll be waiting just a little longer to play it.

Uncharted 4 has been pushed once again, this time from its April 26th release date to May 10th.

Sony notes that this time around it has nothing to do with the game itself, but that “In an effort to meet the considerable worldwide demand, and to ensure that all gamers worldwide have the opportunity to play the game on day one, we have chosen to postpone the launch of the game by two weeks to allow for extra manufacturing time.”

They also say that they’re very sorry.

In any case, who’s excited to play Uncharted 4 one day?

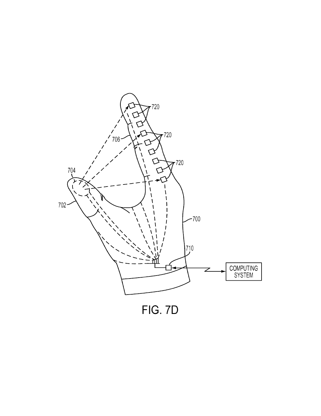
This must be the week for patents and trademark leaks. First we got the Pokemon Logos from the EU patent office, now we got our hands on some interesting tech from Sony.

NeoGaf user Rosti has collected the, now public, patent and trademarking documents for an upcoming hardware peripheral. Check out the Playstation glove!

 

Bear in mind that this patent was originally filed way back in 2014, but now have just become public information.

The contents of the patent specifically include three items of note to gamers.

Thumb Controller

Glove Interface

Systems and methods for providing feedback to users while interacting with content.

The extent of the patent show the “glove” having multiple flexible sensors in it, and may provide force feed back. Take note that the glove may be able to read gestures, and take them in as commands.

Sony plans to have a VR event come March 15th, so expect to see something about the Playstation Glove there as well as confirmation of the Morpheus 2016 launch.

Briefly: Just two. more. months.

Naughty Dog has just debuted a brand-new story trailer for April’s Uncharted 4: A Thief’s End.

It’s a fantastic look at the game, and Naughty Dog director Neil Druckmann even said that it’s the “best trailer in Naughty Dog history.”

That’s high praise.

The trailer offers a fantastic new look at a game that we cannot wait to get our dirty paws on, and shows off a lot of Uncharted 4 elements that we haven’t seen yet.

In the game, “Several years after his last adventure, retired fortune hunter Nathan Drake is forced back into the world of thieves. With the stakes much more personal, Drake embarks on a globe-trotting journey in pursuit of a historical conspiracy behind a fabled pirate treasure. His greatest adventure will test his physical limits, his resolve, and ultimately what he’s willing to sacrifice to save the ones he loves.”

A Thief’s End (finally) hits PS4 on April 26th. Who’s excited?

https://youtu.be/oU8CQbzkpwc

Crash Bandicoot has had it pretty rough. What was once one of the PlayStation’s most promising mascots of the early years, has slowly faded into obscurity ever since the series acquisition by Activision back in 2008. Since then, all we’ve gotten is Crash: Mind Over Mutant in 2008, and a very simplified IOS racing game in 2010.  It’s been almost 10 years since fans have been treated to a new Crash game, but that wait just might be over.

https://twitter.com/PlayStation_ME/status/696008709231607808/photo/1

When translated, the image says wanted. Also when translated, the text from PlayStation says something along the lines of: Wanted, where are you Crash? Could this be a new hint that Sony has taken the franchise back from Activision. It should also be noted that last year at PSX, many people noticed that CEO and President of Sony America Shawn Layden was wearing a Crash Bandicoot shirt. Do you want to see a new Crash game? Tell us in the comments!

Briefly: Unless the game gets another delay (which I believe is highly unlikely at this point), we’re now just a few months away from playing Naughty Dog’s highly anticipated Uncharted 4.

Well, if you were holding out on buying the console until the game came out, Sony just revealed a gorgeous, limited edition Uncharted 4 Playstation 4 console.

The bundle will cost you a cool $399.99 in the US ($499.99 in Canada), and includes the PS4 console in a Gray Blue color “featuring a silk-screened image of Nathan Drake, as well as a matching DualShock 4 and a copy of Uncharted 4: A Thief’s End on Blu-ray. The limited edition PS4 also features the PlayStation logo, Uncharted logo, and the phrase “SIC PARVIS MAGNA” in gold. “SIC PARVIS MAGNA” is Latin for “Greatness from small beginnings” and is the same phrase engraved on Drake’s ring.”

Sounds like the perfect console for any Uncharted fan, and it’s clearly one of the best-looking limited PS4 console’s that I’ve seen to date.

The console will launch alongside Uncharted 4 on April 26th, and will be a limited edition, so you better keep your eyes and wallet open if you’d like to take this bundle home.

Planning to pick up the bundle? Be sure to let us know!

Briefly: I sure hope that following this release Ratchet & Clank become again relevant enough to actually be featured in a good video game again (I don’t think that the remaster/re-imagining really counts, but we’ll see).

After seeing the first trailer back in October, Focus Features has just debuted two new TV spots for the feature.

In the film, “Two unlikely heroes struggle to stop a vile alien named Chairman Drek from destroying every planet in the Solana Galaxy. Ratchet is the last of his kind, a foolhardy “lombax” who has grown up alone on a backwater planet with no family of his own. Clank is a pint-sized robot with more brains than brawn. When the two stumble upon a dangerous weapon capable of destroying entire planets, they must join forces with a team of colorful heroes called The Galactic Rangers in order to save the galaxy. Along the way, they will learn about heroism, friendship, and the importance of discovering one’s own identity.”

With a script from Kevin Munroe, Gerry Swallow, and Insomniac Senior Writer TJ Fixman, I’d wager that the film will retain the excellent feel and humour of the Playstation series. It’s pretty clearly represented in this trailer, which reallybrings me back to some of my early teenage years. Wow.

And I haven’t even mentioned the cast yet. Ratchet & Clank stars Paul Giamatti, John Goodman, Bella Thorne, Rosario Dawson, Jim Ward, James Arnold Taylor, David Kaye, Armin Shimerman, and Sylvester Stallone. Yep.

Take a look at the spots below, and let us know what you think! Ratchet & Clank hits theatres on April 29th, 2016!

Source: IGN

Join Derek, Josh, Juan and Shane as they discuss the last week in video games!

Subscribe to us in iTunes!

Subscribe with another program!

This Week:

EA is ditching E3 in favour of ‘EA Play.’

Shane is inappropriate.

WB abandoning Mortal Kombat X on PC.

TMNT: Mutants in Manhattan looks phenomenal.

New WWE2K16 DLC Breaks ‘Universe Mode’.

PS+ and Games With Gold games for February.

Zack and Wiki hits WiiU.

Mighty No. 9 delayed again.

Detective Pikachu WTF.

Street Fighter V getting a story update.

Valkyria Chronicles on its way to PS4.

WWE2K16.

Oxenfree.

MegaDimension Neptunia VII.

Splatoon.

Listener Mission Objective:

“What’s the first game that you would recommend to a non-gamer.”

Subscribe to us in iTunes!

Follow us on Sound Cloud!

Subscribe with another program!

Subscribe to our Twitch Channel!

Follow us on Twitter!

@dkraneveldt

@InuJoshua

@TheKingOfMars

@shaneohare

Briefly: Sony today debuted the official trailer for The Angry Birds Movie… and it actually looks kind of hilarious.

I’m not a fan of the property (like at all), but I found myself laughing multiple times throughout this trailer. I’m not sure what that says about my sense of humour or what type of person I am, but, well, take a gander below and judge for yourself.

The movie takes us to an island populated entirely by happy, flightless birds – or almost entirely. In this paradise, Red (Jason Sudeikis, We’re the Millers, Horrible Bosses), a bird with a temper problem, speedy Chuck (Josh Gad in his first animated role since Frozen), and the volatile Bomb (Danny McBride, This is the End, Eastbound and Down) have always been outsiders. But when the island is visited by mysterious green piggies, it’s up to these unlikely outcasts to figure out what the pigs are up to.

Featuring a hilarious, all-star voice cast that includes Bill Hader (Trainwreck, Inside Out), Maya Rudolph (Bridesmaids, Sisters), and Peter Dinklage (Game of Thrones), as well as Kate McKinnon (Saturday Night Live, Ghostbusters), Keegan-Michael Key (Key & Peele), Tony Hale (Veep, Arrested Development), Tituss Burgess (Unbreakable Kimmy Schmidt), Ike Barinholtz (Neighbors, Sisters), Hannibal Buress (Daddy’s Home, Broad City), Jillian Bell (22 Jump Street), Danielle Brooks (Orange is the New Black), Latin music sensation Romeo Santos, YouTube stars Smosh (Ian Hecox and Anthony Padilla), and country music superstar Blake Shelton, who writes and performs the original song “Friends,” the Columbia Pictures/Rovio Entertainment film is directed by Fergal Reilly and Clay Kaytis and produced by John Cohen and Catherine Winder. The screenplay is by Jon Vitti, and the film is executive produced by Mikael Hed and David Maisel.

That’s quite the cast, isn’t it? Now take a look at the trailer below, and let us know what you think! The Angry Birds Movie hits theatres on May 20th!

We’re only a few weeks away until Pride and Prejudice and Zombies hits theaters, and we are so freaking hype we can’t stand it!

Yes, a movie with a title that sounds like a six year old reciting his Christmas list has gotten these geeks amped. The more I read and see about the film, the more I think this is a chocolate peanutbutter situation.

Check out the violent, and T&A filled trailer below! I am an ass and leg man, and this trailer has got plenty of both!

The only downside of this trailer for me, is the out of place nu-metal cover of These Boots Are Made For Walkin’.

Pride and Prejudice and Zombies hits theaters February 5th!

Fire up the hype machine, and clear your PS4 hard drive! Because Ratchet & Clank just went up for preorder!

Recently announced on the EU Playstation blog, but confirmed in NA as well, is that you can go hit up your local retailer and preorder yourself a copy of the game! Ratchet & Clank hits store shelves on April 12th!

In the meantime, check out the brand new box art and some sick screenshots. Hope that will tide you over!

Ratchet and Clank Box art

 

To preorder the game digitally in North America, head on over to the games official store page!

Briefly: It was just last month that Playstation Now added a myriad of fantastic titles like Bioshock, Borderlands, and more, and the company has just revealed another huge release for the cloud gaming service.

Sony has just added over 40 new titles to Playstation Now, including games like Flow, Flower, Journey, and even Uncharted 3. It’s a huge list, with a myriad of impressive titles, and you can take a look at each one below:

Anarchy: Rush Hour
Armageddon Riders
Bentley’s Hackpack
Big Sky: Infinity
Class of Heroes 2G
Crash Commando
Detuned
Doki-Doki Universe
Dynasty Warriors 7: Empires
Dynasty Warriors 7: Xtreme Legends
Eat Them!
Elefunk
Everyday Shooter
Flow
Flower
Go! Puzzle
God of War: Chains of Olympus
God of War: Ghosts of Sparta
Gravity Crash
Heavenly Sword
Hot Shots Golf: Out of Bounds
Invizimals: The Lost Kingdom
Journey
Killzone 2
Killzone HD
Lemmings
Linger in Shadows
Mamorukun Curse!
Numblast
Okabu
PixelJunk Eden Encore
PixelJunk Monster Encore
Ratchet & Clank Future: Quest for Booty
Ricochet HD
Savage Moon
Snakeball
Starhawk
Super Stacker Party
The Unfinished Swan
Toy Home
Trash Panic
Trinity: Souls of Zill O’ll
Uncharted 3: Drake’s Deception – Game of the Year Edition
Under Night In-Birth Exe:Late
Wakeboarding HD
When Vikings Attack
White Knight Chronicles
Xblaze Code: Embryo

I’m still impossibly far away from grabbing a subscription to Playstation Now, but at this point it’s certainly not for a lack of content. My PS4 and Wii U backlogs continue to grow, and I simply can’t add another generation of missed experiences to that list. In any case, at this point you’re certainly getting your twenty dollars worth with the myriad of titles at your disposal, and Sony often has some pretty great promotions on the service as well. At this point, if youre looking at dollar per hour of content/fun, Playstation Now would be hard to beat.

Are you a Playstation Now subscriber? What have you thought of the service thus far? Are you excited for these new additions? Be sure to let us know in the comments below!

Source: Playstation

Briefly: Sony sure seems pretty confident these days.

And with more consoles sold than the competition this generation, and coming off of a great 2015 lineup (aside from The Order: 1886, I suppose), why wouldn’t they be?

That confidence continues into 2016, where the company has once again deemed that this year the PS4 will be ‘The Best Place to Play’. Sony has just debuted an exciting video detailing just some of the exclusives and firsts coming to the Playstation 4 throughout this year, and while a myriad of these titles are bound to be delayed (as is the style in this generation), this year looks to be another phenomenal year to be a gamer.

And this is just one company. With a plethora of Nintendo titles on the way, and some great looking Xbox One exclusives coming in 2016, where the heck do we even begin?

Take a look at the video below, and be sure to let us know what you’re looking forward to this year.

Briefly: Sigh.

Were you looking forward to playing Uncharted 4: A Thief’s End on March 18th (after accepting that you wouldn’t be playing it this holiday season, that is)?

Well, sorry to be the bearer of bad news (again), but that’s simply not happening.

The impressive looking title has just received another, thankfully shorter delay, and will not be making its previously announced March 18th release date.

The reveal came via Playstation’s official blog, where Naughty Dog’s Neil Druckmann stated:

This is our largest Uncharted, and the team has been working incredibly hard to meet the challenge of closing out the game’s development in a timely manner. However, as we started to approach our final deadlines and started wrapping up the game’s levels, we realised that several key sequences needed extra resources to bring them to the finish line.

 

After carefully considering all of our options, we decided to extend our schedule, making sure that we get a few more polish passes before submitting our gold master (the final disc for manufacturing).

 

Pushing the date is not an easy choice, and we wouldn’t do it if we didn’t feel in our hearts it’s the best course of action for the game. To you, our loyal fans, we hope you’ll accept our sincere apology. We know many of you have been waiting patiently for Nathan Drake’s final chapter, and now we humbly ask you to wait a bit longer.

These multiple delays seem to happen more often than not these days, but at least we’re bound to get an excellend title when Uncharted 4 finally does release. The game is now set for an April 26th release, and it better. freaking. make. it.

Disappointed? Sound out in the comments below!

This past weekend, Sony held their now annual Playstation Experience convention which included many new game reveals and announcements.

Among the many exciting announcements, one of them shyly slipped through the cracks. This was the brand new Hot Shots Golf game that was announced back in September. Luckily, Sony was kind enough to share more details about the game today. This includes many things such as being able to customize your own character, having a more robust online mode, and even being able to free roam by driving a golf cart anywhere!

New Hot Shots 1

For a bit more info, check out the original post from the official Playstation blog right HERE. Also, check out the new trailer for the game below. New Hot Shots Golf will launch on PS4, but there is no set release date yet.

https://youtu.be/hh8F9sY7mNo

Briefly: As mixed as reception was for Sony’s adaptation of Brian Michael Bendis and Michael Avon Oeming’s acclaimed comic series Powers was, the series was still beyond popular enough to receive a second season order.

The first season is available in full to Playstation Plus subscribers, and Sony’s VP of Platforms Marketing John Koller states that “The reception to ‘Powers’ has been incredible and we are thrilled to have successfully launched a platform for original content with the PlayStation gamer in mind. We believe original content will continue to be a key pillar as we broaden the value proposition for PlayStation Plus, and we’re excited for what’s to come with season two of ‘Powers.’”

Bendis adds that  “We are so grateful to the PlayStation nation and fans of Powers for supporting us and making the second season a reality. I speak for the entire cast & crew when I say that we are really excited about season two and the opportunity to tell the story of the biggest case in Powers history.”

Season two of Powers is without a solid debut date at this point, but in any case, it’s coming in 2016. Take a look at the first look trailer below, and be sure to let us know what you think!

Join Josh, Juan and Shane as they discuss the last week in video games!

Subscribe to us in iTunes!

Subscribe with another program!

This Week:

The Game Awards happened.

Konami’s lawyers banned Hideo Kojima from attending Game Awards.

FarCry: Primal.

Shaq Fu sequel.

Psychonauts 2 crowd funding starts.

/r/slutoon.

Game Award Winners.

Mortal Kombat X get’s Leatherface & Xenomorph DLC.

Project M canceled.

Platinum Games announces TMNT arcade brawler.

Call of Duty: Black Ops III.

Splatoon.

Nintendo Badge Center.

Listener Mission Objective:

What is your game of the year?

Subscribe to us in iTunes!

Follow us on Sound Cloud!

Subscribe with another program!

Subscribe to our Twitch Channel!

Follow us on Twitter!

@dkraneveldt

@InuJoshua

@TheKingOfMars

@shaneohare

At this years E3 the entire gaming community was stunned (well most of us were) when Square announced they were FINALLY releasing a remake of the legendary Final Fantasy VII. There were rumors going around for years (especially after the PS3 Tech Demo showing off FF7 assets was released), but we’re getting what we’ve been asking for!

Today, Sony released this trailer showing off in-game footage of the upcoming remake. Check it out for yourself!

First thing to notice, is that the game looks absolutely gorgeous! It’s like it could be a sequel to Advent Children for Christ sake!

The biggest take away from the in game footage, is that it looks as if they’re ditching the turn based/time based battle mechanics of the original, for an action RPG style from the upcoming Final Fantasy XV. That will undoubtedly cause a huge rift in the games die hard fans. I for one welcome the new battle system.

No release date has been announced, but you can be SURE you will find out here on Geekscape!

The best night for video games are just around the corner!

To help you prepare for The Game Awards, I’ve compiled this short, but informative Q&A to help you understand what they’re all about.

Q: What are The Game Awards?

A: The Game awards are an award show for the video game industry. Originally started in 2003 on Spike TV, The VGA’S were created to ‘celebrate’ video games, although it wasn’t really entertaining or PC. In fact, it was downright cringey and aggravating at some points (Madden 04 game of the year? Seriously?) After re-branding and once again failing to deliver an entertaining experience in 2013, Spike officially cancelled the yearly show, but former awards producer Geoff Keighly took it upon himself to create a brand new awards show. This time, it would be a real respectful celebration of all things video game.

Q: Is there anything else besides just awards?

A: Yes. Not only do you get to see some of your favorite video games get the recognition they deserve, but there are always special surprises sprinkled throughout it. This year, there will be 10 World Premieres for Brand new games and first look gameplay at previously announced titles. There are also special musical performances including some this year by Deadmau5 and CHVRCHES.  There is also an industry icon of the year award where an important person or group of people are celebrated for shaping a part of gaming.

Q: Where can I watch this?

A: Almost anywhere online! While you won’t be able to watch this on TV, you can easily go to http://thegameawards.com/  to watch, on top of that you’ll also be able to catch it on game sites such as IGN, and you’ll even be able to leisurely watch it from the comfort of your Xbox One, PS4, and even Wii U. Streams start at 6:00 PM PST with a pre show at 5:30, so don’t miss out!

For more info on the awards check out these small interview clips.

Briefly: Playstation Now has always seemed like a bit of an odd duck to me.

I’m totally down with Cloud-based gaming, and had a fantastic time with Onlive’s Playpass a number of years back, but Playstation Now, while an incredible idea, always seemed sort of lackluster in its offerings.

Today, the offerings improve, and the Playstation Now library becomes a little more handsome with the addition of Gearbox’s incredibly fun (as long as you’re playing with other people) Borderlands and Borderlands 2.

Even better (at least in my opinion), Irrational Games’ genre-defining Bioshock and Bioshock 2 have joined the already available Bioshock Infinite, making for a pretty incredible million hours of gaming if you’ve somehow missed out on these titles.

I’m still impossibly far away from grabbing a subscription to Playstation Now, but at this point it’s certainly not for a lack of content. My PS4 and Wii U backlogs continue to grow, and I simply can’t add another generation of missed experiences to that list. In any case, at this point you’re certainly getting your twenty dollars worth with the myriad of titles at your disposal.

Are you a Playstation Now subscriber? What have you thought of the service thus far? Are you excited for these new additions? Be sure to let us know in the comments below!

https://youtu.be/bLHW78X1XeE

Gamers already have the ability to stream PlayStation 4 games over local wi-fi networks to their PlayStation Vita and PlayStation TV, and now Shuhei Yoshida, the President of Sony Computer Entertainment’s Worldwide Studios, has revealed on Twitter that computers would also be joining that list of supported streaming devices.

This official application should not be confused with Remote Play PC, a third-party app also in development. And while the alpha release is currently available, according to the developer “there will likely be bugs and crashes” and refunds are not accepted. Besides, with an official version being released by Sony, it is only a matter of time before this one gets shut down.

Are you psyched for this new mode of PS4 streaming? Let us know in the comments!

Remote

[via Polygon]

Briefly: I cannot wait to play through these again.

As divisive as gamers seem to be over the titles crafted by Quantic Dream (Indigo Prophecy, Heavy Rain, Beyond: Two Souls), the deep (and occasionally convoluted) plots, cinematic-as-hell gameplay (well, if you can call it that), and incredible production values always keep me coming back for more.

Beyond: Two Souls was a late PS3 highlight for me, and I’m beyond excited to finally know just when I’ll be able to give it another go. The PS4 re-releases of both Beyond: Two Souls and Heavy Rain were announced back in June, and Sony today revealed the release dates for both games.

Beyond: Two Souls will launch next week on November 24th for a cool $29.99, with a variety of enhancements to the original game, including:

-Enhanced 1080p graphics including motion blur, bloom and depth of field effects, as well as improved lighting and shadows. The game also makes use of the DualShock 4 speaker to improve immersion when playing as the Entity
-Decisions are highlighted at the end of each scene and compared with those made by other players
You can now play the game in chronological order right from the start – a much requested feature in the PS3 version!
-Increased difficulty in a number of fight scenes, combined with improved controls for action sequence
-Includes the “Enhanced Experiments” DLC in the base game

We’ll be waiting a little longer for Heavy Rain however (giving you a good amount of time to catch up on that backlog), as Heavy Rain will launch on PSN on March 1st. Sony hasn’t detailed just what enhancements that release will see (or just how much it’ll cost), but you can bet I’ll be Pressing X to Jason all over again when it hits!

Will you be playing these games again? Or was once enough? Be sure to let us know in the comments below!

Horizon: Zero Dawn was first shown off way back at E3 2015. The E3 demo really threw us for a loop, as the introduction of robots in a very neanderthal aesthetic.

Guerrilla Games just showed off their press demo for the first time to the public. In the demo they show off two hunts. One where the main character, Aloy, has to track some gazelle looking robots and harvest the canisters on their back. She employs a series of traps, and scares the grazers into them. Next we are shown a huge battle with the big guy from the E3 demo, the Thunder Jaw. Hermen Hulst from Guerrilla explains the different attacks the monster has, and the thought process in how the battle went during the E3 demo.

Game looks better and better, but it makes me just yearn for a current gen console version of Monster Hunter.

No official release date has been announced besides the tentative 2016.

Briefly: I sure hope that following this release Ratchet & Clank become again relevant enough to actually be featured in a good video game again (I don’t think that the remaster/re-imagining really counts, but we’ll see).

After a long, long silence, the full trailer for next year’s Ratchet & Clank film has just debuted online.

In the film, “Two unlikely heroes struggle to stop a vile alien named Chairman Drek from destroying every planet in the Solana Galaxy. Ratchet is the last of his kind, a foolhardy “lombax” who has grown up alone on a backwater planet with no family of his own. Clank is a pint-sized robot with more brains than brawn. When the two stumble upon a dangerous weapon capable of destroying entire planets, they must join forces with a team of colorful heroes called The Galactic Rangers in order to save the galaxy. Along the way, they will learn about heroism, friendship, and the importance of discovering one’s own identity.”

With a script from Kevin Munroe, Gerry Swallow, and Insomniac Senior Writer TJ Fixman, I’d wager that the film will retain the excellent feel and humour of the Playstation series. It’s pretty clearly represented in this trailer, which really brings me back to some of my early teenage years. Wow.

And I haven’t even mentioned the cast yet. Ratchet & Clank stars Paul Giamatti, John Goodman, Bella Thorne, Rosario Dawson, Jim Ward, James Arnold Taylor, David Kaye, Armin Shimerman, and Sylvester Stallone. Yep.

Take a look at the trailer below, and let us know what you think! Ratchet & Clank hits theatres on April 29th, 2016!

Briefly: Finally, finally, finally, just less than three years after the console launched, Sony’s Playstation 4 console is receiving its first price drop.

The drop has been rumoured for some time now, and Sony made it official last night with a short post on their official blog. Starting tomorrow, October 9th, the Playstation 4 will cost just $349.99 in the United States, and $429.99 in Canada.

For us Canadians, this means that the PS4 is priced just $29.99 higher than it was at launch. Making me super happy that I paid just $399 for mine on launch day three years ago.

Sony also detailed the plethora of bundles and choices that gamers (and gift-buyers) have this holiday season:

Uncharted: The Nathan Drake Collection PS4 Bundle (500 GB HDD) – $349.99 / CA$429.99 (MSRP); launches Oct. 9

Limited Edition Call of Duty: Black Ops 3 PS4 Bundle (1 TB HDD) – $429.99 / CA$499.99 (MSRP); launches Nov. 6

Limited Edition Disney Infinity 3.0: Star Wars PS4 Bundle (500 GB HDD) – $399.99 / CA$469.99 (MSRP); launches Nov. 13

Limited Edition Star Wars Battlefront PS4 Bundle (500 GB HDD) – $399.99 / CA$469.99 (MSRP); launches Nov. 17

Star Wars Battlefront PS4 Bundle (500 GB HDD) – $349.99 / CA$429.99 (MSRP); launches Nov. 17
NHL 16 PS4 Bundle (500 GB HDD) – CA$429.99 (MSRP); available now, Canada only

Have you picked up a PS4 yet? Is tomorrow’s price drop enough to entice you to do so? Let us know in the comments below!

PS4

We’re edging ever so closer to the climax of this latest James Bond release. Spectre is just a month away and we have our final trailer from Sony. Check it out with me below.

The Daniel Craig era of Bond has etched itself out as a modern “reboot” of the James Bond franchise, and Spectre is set to introduce the sinister organisation from older Bond films.

I really appreciated the line “I came here to kill you.”. ‘And I thought you came here to die!’. It is a nice little call back to the famous line from the 1964 Goldfinger.

Spectre hits theatres November 6th!

Briefly: Back in June Sony and Marvel revealed that they had found both a star and director for their next Spider-Man reboot.

The Impossible star Tom Holland would be taking the reins as Peter Parker, and Jon Watts (whose latest film, Cop Car, is currently in theatres) would take over the director’s chair.

Since that day, there has been a lot of speculation about just how old Peter would be in this new iteration, and in a just-published interview with Empire Magazine (via Yahoo!), Watts has revealed that we will indeed be dealing with a younger Parker, and reiterated that we won’t be seeing another origin story.

“There are only so many times you can kill Uncle Ben. I love the idea of making a coming-of-age high school movie. We’re really going to see Peter Parker in high school and get deeper into that side of it. He’s just 15 now.”

Watts also noted that he plans for his Spider-Man to feel like a coming-of-age high-school film, mentioning classic John Hughes movies specifically.

Tom Holland is just 19, so for once, he’s just a few years older than the character that he’s playing.

Watts’ Spider-Man will hit theatres on July 28th, 2017.

TomHolland

During Sony’s press conference at this year’s Tokyo Game Show, Spike Chunsoft officially revealed Danganrona 3, complete with its first trailer.

Originally said to have been in the works at last year’s TGS, this reveal trailer comes fresh off the heels of the latest game, Ultra Despair Girls, releasing in the West, so everyone should be on the same page when it comes to the story! Teasing a brand new academy, and a type of testimony called “skimmish,” where multiple classmates give their sides of the story at the same time, it’ll be even harder to cut through their words to find the truth. With Monokuma, Monomi, Shirokuma and Kurokuma all making appearances in the trailer, could they all be in the main game as well? Or were they simply stand ins for the yet to be revealed cast? All I know is that I hope that line about Togami being dead was only an example and not a spoiler.

Watch it below and tell us what kind of despair you hope the third main game in this popular text adventure will bring. Danganronpa 3 will release on the PS Vita, as well as making its console debut on the PS4, on a yet to be determined release date.

Rumors have been swirling for months about a possible PS4 remaster of Gravity Rush, the Vita exclusive action title that gave players the power to control gravity to manipulate its heroine and her surroundings. In addition, a sequel was announced at Tokyo Game Show 2014, but no further details were discussed, including which platform it would end up on. Both questions were addressed in one fell swoop at Tokyo Game Show 2015, where both Gravity Rush Remastered and Gravity Rush 2 were revealed as PS4 exclusives!

The remastered version of the first game is set for an early 2016 release, with its sequel arriving later in the year. With Gravity Rush being one of my absolute favorite titles in years, I’m thrilled that the original will get the due it deserves by being exposed to a much bigger audience. At the same time, I’m a little surprised that the second game isn’t coming to Vita as well, (although I probably shouldn’t be.) From the trailer, it doesn’t seem like it’s too technologically advanced to be on Sony’s handheld, (although the city coming alive at the end looks amazing,) so it’s pointing more to the idea that Sony just doesn’t see any value in releasing the game on their portable console. If this isn’t proof that the company sees the Vita as dead, then I don’t know what is.

Regardless, between the team ups with her former rival, Raven, new, bigger enemies and the return of Kat and Dusty, there’s plenty of reason to be excited. And if you don’t know what I’m talking about, you’ll get the chance with the remaster! What are your thoughts on Gravity Rush becoming a PS4 exclusive, (and the Vita’s death along with it?) Comment below and let us know!