Sony Files Patent For ‘Playstation Glove’ Controller

This must be the week for patents and trademark leaks. First we got the Pokemon Logos from the EU patent office, now we got our hands on some interesting tech from Sony.

NeoGaf user Rosti has collected the, now public, patent and trademarking documents for an upcoming hardware peripheral. Check out the Playstation glove!

 

Bear in mind that this patent was originally filed way back in 2014, but now have just become public information.

The contents of the patent specifically include three items of note to gamers.

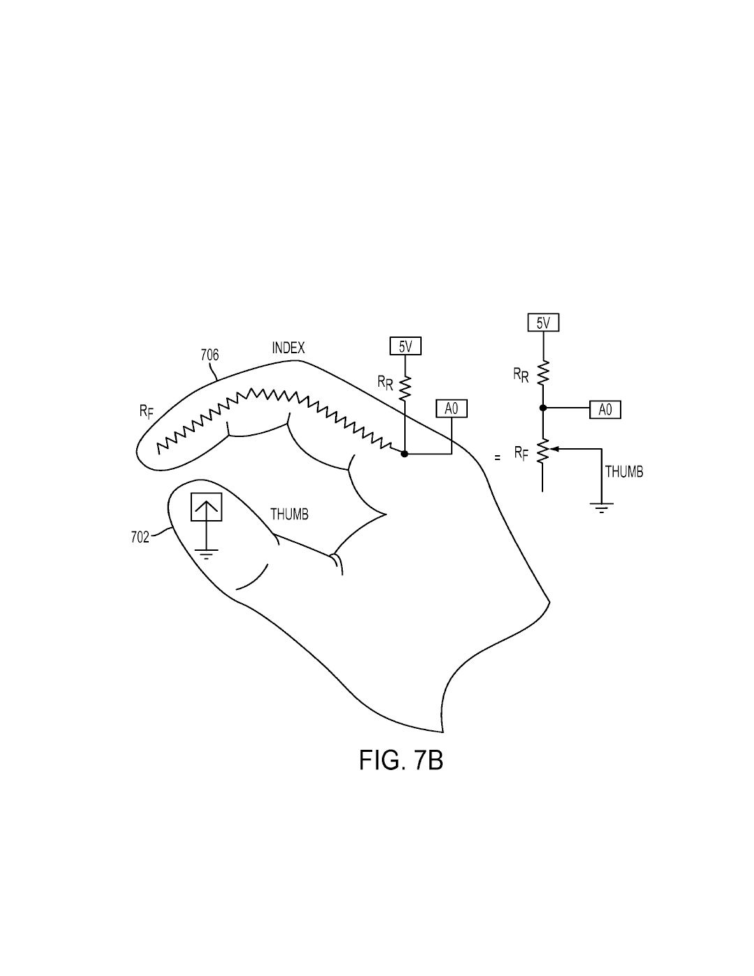
Thumb Controller

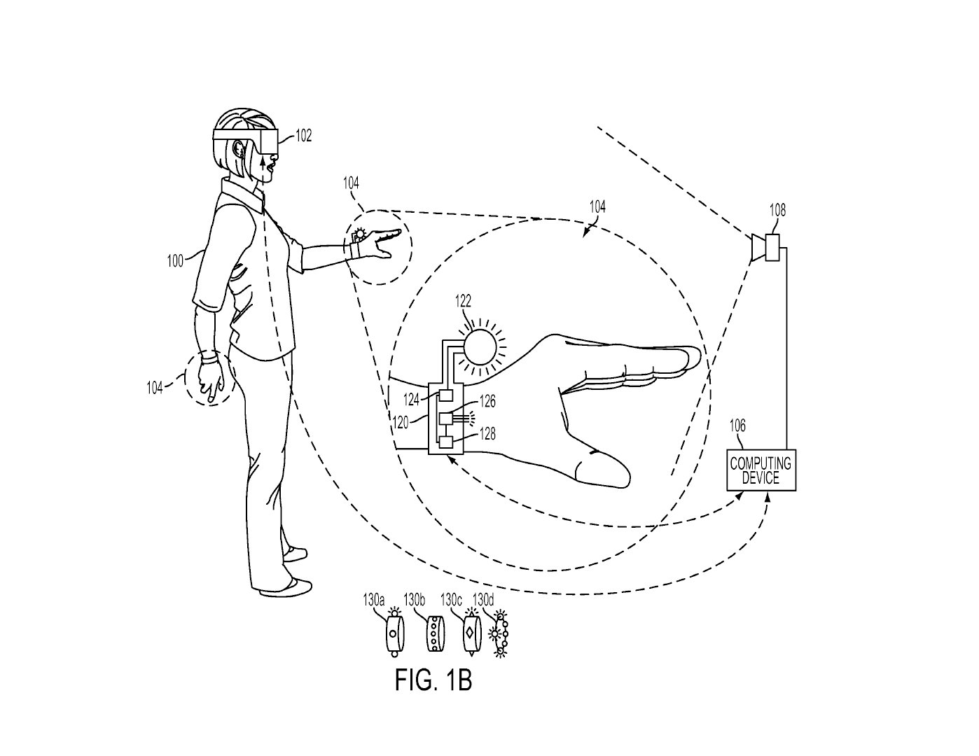
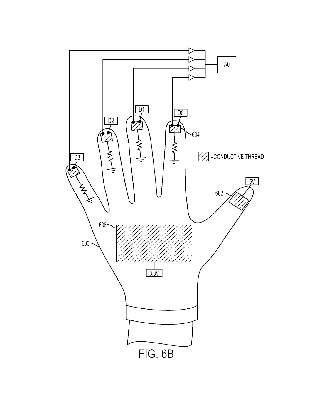
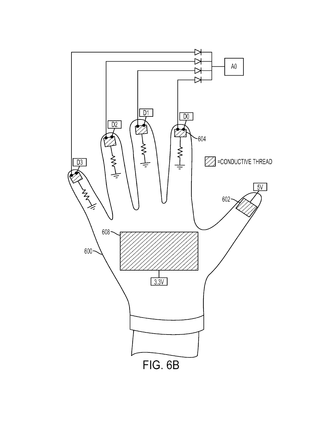
Glove Interface

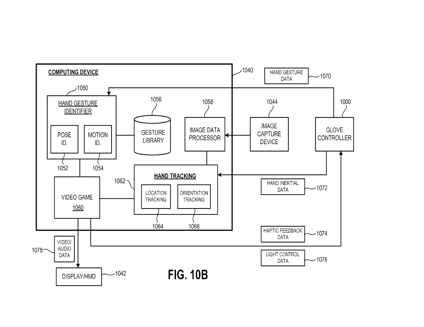
Systems and methods for providing feedback to users while interacting with content.

The extent of the patent show the “glove” having multiple flexible sensors in it, and may provide force feed back. Take note that the glove may be able to read gestures, and take them in as commands.

Sony plans to have a VR event come March 15th, so expect to see something about the Playstation Glove there as well as confirmation of the Morpheus 2016 launch.